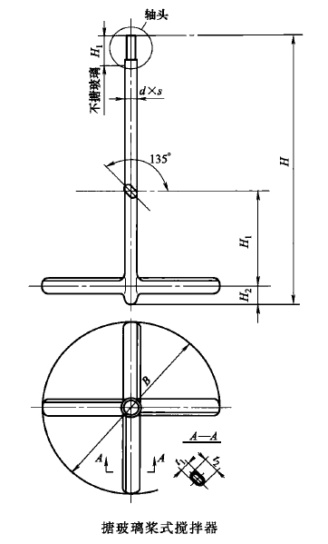
搪玻璃反應釜中的搪玻璃槳式攪拌器一般應用于加強傳熱、固體溶解的場合及生產反應工藝中,她屬于一種徑流式攪拌器。由于槳式攪拌器的槳葉直徑比搪玻璃錨式攪拌器和搪玻璃框式攪拌器都小,一般轉速為小于等于200r/min。槳式搪玻璃攪拌器的槳葉結構有平直葉和折葉兩種,我們通常采用的一般為折葉式,這有利于物料的均勻攪拌。該種搪玻璃攪拌器應用于攪拌黏度低的物料,當物料黏度大或沉淀較多時,槳葉中心線至容器底部的距離取較小值;當懸浮物較多時,槳葉中心線至容器底部的距離應該取較大值。該類攪拌器當用于黏度不大的液體時,可在搪玻璃反應釜筒體內配置帶翼溫度計套管或者折流板,以達到液體上下翻騰的理想攪拌效果。

搪玻璃槳式攪拌器系列公稱容積為50L~40000L,公稱壓力小于等于1.0MPa,設計溫度為零下20攝氏度到200攝氏度,攪拌器公稱轉速為70~125r/min,而且攪拌器錨翼端部線速度小于等于7m/s。那么,有的搪玻璃設備用戶就會提問搪玻璃槳式攪拌器的軸頭以及分別適應多大型號的搪瓷反應釜呢?搪玻璃槳式攪拌器軸頭分為A型、B型和C型。A型軸頭與W型傳動裝置機型相配,適用于50~4000L搪玻璃開式攪拌容器和2500~4000L搪玻璃閉式攪拌容器中。B型軸頭與DZ、SZ型傳動裝置機型相配。C型軸頭與DZ、SZ型傳動裝置機型相配。B型、C型軸頭適用于1000L~5000L搪玻璃開式反應釜和2500L~40000L搪玻璃閉式反應釜中。
更多關于搪玻璃設備的技術資料歡迎瀏覽淄博太極搪玻璃設備網www.artplateno.com ,真誠善良的太極人歡迎您來公司參考考察洽談合作共同發展。
|