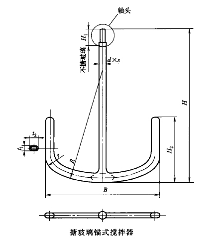
反應釜用搪玻璃錨式攪拌器一般應用于中高黏度液體的混合、傳熱或反應等過程,其設計結構圖如下圖所示:

錨式攪拌器在直徑方向和高度方向都具有很大的攪拌范圍,使得在搪玻璃反應釜筒體內不會造成介質的攪拌死角。由于在攪拌時對液體產生較大的剪切力,因此,一般都用于高黏度液體的攪拌環境。同時,由于錨式攪拌器直徑大、被攪拌的液體黏度高,故其較高轉速<100r/min,一般為80轉每分鐘,液體處于層流狀態。
搪玻璃錨式攪拌器軸頭分為A型、B型和C型三種型式。A型軸頭與W型傳動裝置機型相配,結構和尺寸如下圖所示,適用于50~4000L搪玻璃開式攪拌容器。B型軸頭與DZ、SZ型傳動裝置機型相配。C型軸頭與DZ、SZ型轉動機型相配。B型和C型軸頭適用于1000~5000L搪玻璃開式攪拌容器。攪拌器錨翼端部的線速度大于5m/s時,應該優先選用B型或C型軸頭。W型攪拌器軸頭為外錐結構,DZ型攪拌器軸頭為單支點結構,SZ型攪拌器軸頭為雙支點結構。

|